
相關產品
一、一體式風速風向傳感器技術指標
一體式風速風向傳感器又稱風速風向一體式傳感器,一體式風速風向傳感器是一種集成了風速和風向測量功能的傳感器設備,采用高分子工程塑料,強度高,啟動性好。
供電:DC12V
工作環境:-40~70℃,濕度≤100%無凝露
通信接口:RS485
工作電流:55mA DC12V
啟動風速:0.5m/s
最短數據間隔:0.5S
殼體材料:高分子工程塑料
二、一體式風速風向傳感器參數
參數 | 測量范圍 | 分辨率 | 精度 |
風速 | 0-60m/s | 0.01m/s | ±0.2m/s |
風向 | 0-360度 | 0.1度 | ±1度 |
平均風速 | 0-60m/s | 0.01m/s | ±0.2m/s |
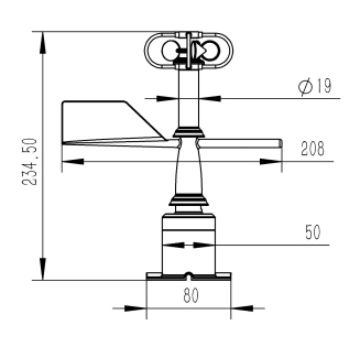
三、一體式風速風向傳感器外觀尺寸
四、一體式風速風向傳感器安裝要求
安裝時底座箭頭N的方向需指向正北方向(如上圖所示)
上一篇:沒有了! 下一篇:沒有了!